Ein Patent von Roborock zeigt eine Art Rampe, die es ermöglichen soll, dass die Saugroboter eigenständig Treppen steigen können.
Roborock Saugroboter – Patent zeigt Pläne zum Treppen steigen
Der nächste große Schritt in der Saugrobotik wird wohl das Überwinden von Treppen und der selbstständige Wechsel in verschiedene Etagen sein. Jedoch steht dieses Vorhaben noch ganz am Anfang. Hersteller zeigen jedoch schon innovative Technologien, wie etwa der Saugroboter Migo Ascender zeigt. Dieser kann Treppen hinaufsteigen.

Bild: Screen aus Patent
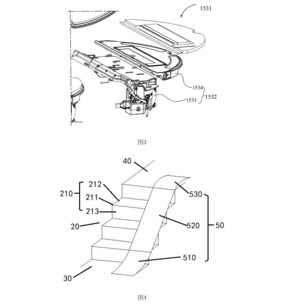
Jetzt ist ein Roborock Patent aufgetaucht, dass eine Art Rampe zeigt, die ein- und ausfahrbar ist. Diese ist mit kleinen Zähnen bestückt, an der sich der Saugroboter eine Treppe hinaufziehen kann. Wobei wir bei diesem Patent jedoch lediglich über die Beschreibung einer Idee informiert werden, anstatt ein tatsächlich finales Produkt.

Bild: Screen aus Patent
Das Patent beschreibt zudem Ideen, wie man das Problem mit Wendeltreppen oder mit Treppen, die eine Zwischenplattform besitzen, lösen möchte. Alles in allem ist das ein interessanter Ansatz, jedoch können wir uns als Saugroboterspezialisten nur schwer vorstellen, dass jemand sich freiwillig solch eine Rampe an die Treppe bastelt. Wir können also gespannt sein, was die Zukunft bringt.

Bild: Screen aus Patent
SAUGROBOTER FINDER | Hier findet ihr den richtigen Saugroboter!
Ihr haltet nach einem Saugroboter Ausschau, der genau zu euren Wünschen passt, aber das aktuelle Angebot erschlägt euch? Dann werft einen Blick in unseren Saugroboter Finder! Das ist ein kostenloses Hilfs- und Vergleichstool, dass für euch einen auf eure Bedürfnisse abgestimmten Saugroboter findet.
Gefüttert ist der Saugroboter Finder mit hunderten verschiedenen Saugroboter- und Saug-Wischroboter-Modellen, die ihr detailliert vergleichen könnt. Dabei habt ihr auch die Möglichkeit, eure individuellen Bedürfnisse anzukreuzen, die das Gerät an Leistung und Stärken mitbringen soll. Ebenso könnt ihr Features ausblenden, die gar nicht benötigt werden oder nach dem Modell mit der besten Preis/Leistung Ausschau halten. Schaut euch unseren umfangreichen Saugroboter Finder und die dazugehörigen Testberichte und YouTube-Videos gerne mal an und ihr werdet schnell einen passenden Haushaltshelfer finden.
Wenn ihr lieber auf Erfahrungswerte baut, dann können wir euch ebenfalls eine große Hilfestelle nennen. Besucht dafür unsere Saugroboter-Facebook-Gruppe, die eine wachsende Anzahl an erfahrenen Mitgliedern aus dem Bereich der Saugroboter vereint. Stellt eure Fragen und bekommt in kürzester Zeit eine Antwort der Community. Klickt für eine Weiterleitung einfach auf die jeweiligen Bilder.


Hinterlasse uns einen Kommentar
Mit der Nutzung dieses Formulars, erklärst du dich mit der Speicherung und Verarbeitung deiner Daten durch diese Website einverstanden. Weitere Informationen kannst du der Datenschutzerklärung entnehmen.