Florian hat vor ein paar Tagen bereits über einen wohl bald kommenden Roborock S8 MaxV berichtet. Dazu sind nämlich bei Reddit ein paar Bilder aufgetaucht. Höchstwahrscheinlich wird dieses Modell jetzt schon in ein paar Tagen vorgestellt!
Roborock S8 MaxV bereits im Januar?
Bisher wissen wir noch nicht viel. Lediglich dass Roborock auf seinem Facebook Kanal ein Bild geteilt hat, auf dem zu lesen ist: Forget about cleaning, was so viel heißt wie: Vergiss Putzen! Auch wissen wir, dass Roborock dieses Jahr auch im Januar auf der CES 22 in Las Vegas den aktuellen Roborock S7 MaxV vorgestellt hat. Insofern passt das alles schon hervorragend zusammen.
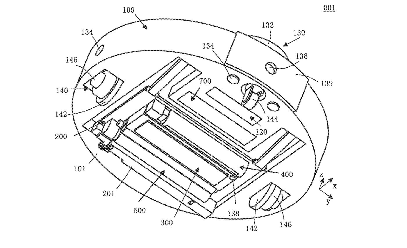
Außerdem ist auf dem Bild höchstwahrscheinlich die Front des Saugroboters zu sehen. Also der Bumper, welcher der Teil ist, in dem die Obstacle Avoidance des Saugroboters verbaut wird. Hinter diesem Glas versteckt sich meist eine Kamera, bei Roborock heißt sie Reactive AI, mit der auch eine Überwachung stattfinden kann. Dieses System wurde auch bereits auf den geleakten Bildern vermutet.

Bild: patents.google.com
Ob der Saugroboter, wie der Roborock S7 MaxV auch, einen zusätzlichen Laser zur Hindernisvermeidung verbaut hat, erkennt man auf dem Bild allerdings nicht.
27.12.22 – Der Roborock S7 MaxV Ultra ist derzeit bei Amazon zum reduzierten Preis von 1259,00 € zu bekommen! Ein starker Preis, wie wir finden!
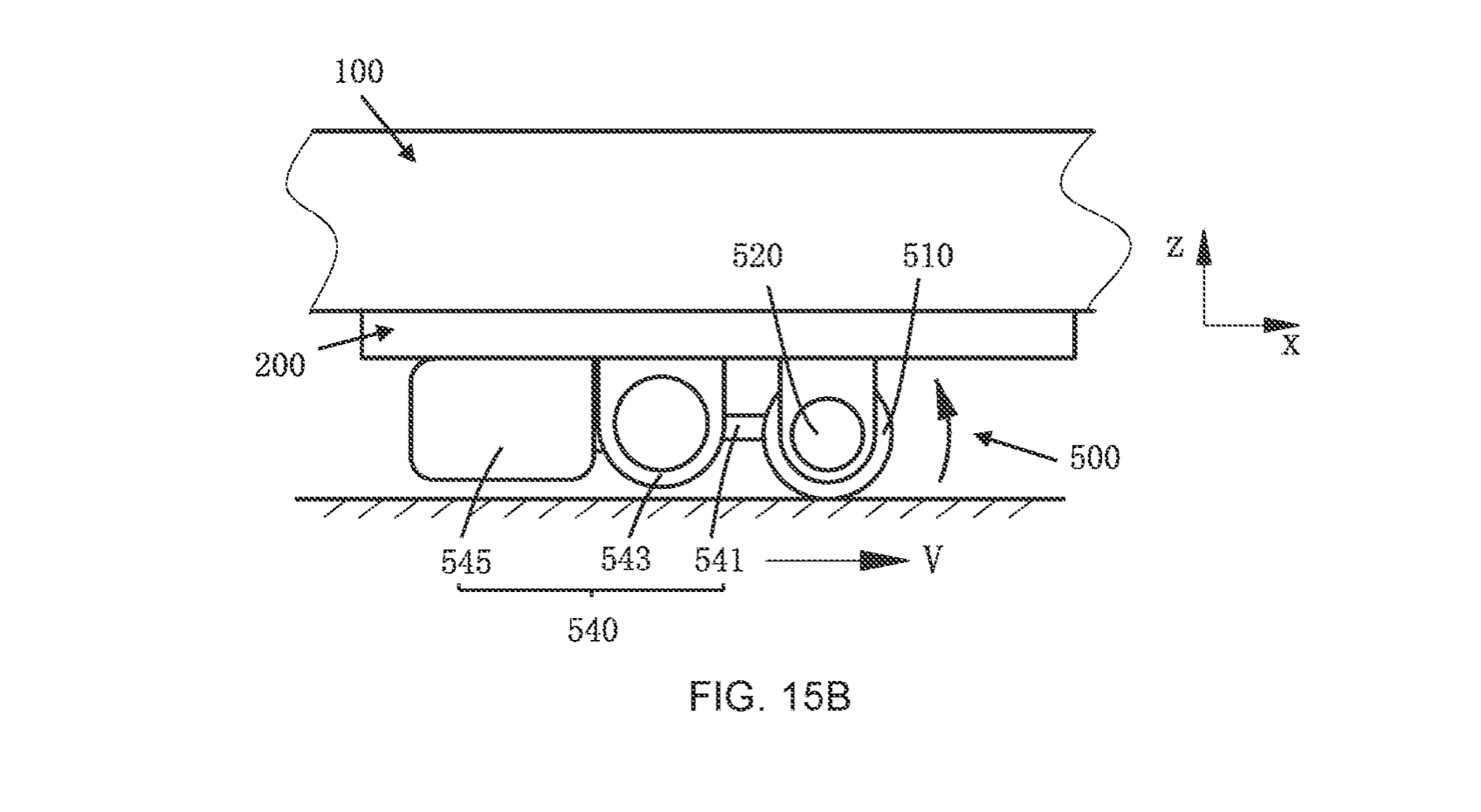
Ebenfalls neu wird wohl das Reinigungssystem sein, dass nun mit einem Doppelrollensystem daher kommt. Dieses ist nämlich ebenfalls auf den Bildern zu sehen. Bisher gibt es also viele spannende Hinweise auf Neuerungen für den Saugroboter von Roborock. Was denkst du? Werden wir noch weitere Überraschungen bei dem neuen Saugroboter von Roborock sehen? Was würdest du dir denn wünschen?

Bild: patents.google.com
Du willst mehr über Saug- & Wischroboter wissen? Dann tritt doch unserer „Saug- & Wischroboter-Gruppe“ auf Facebook bei. Dort findest du eine riesige Community, mit der du dich zum Thema austauschen kannst! Falls du auf der Suche nach einem neuen Saugroboter bist, hilft dir unser Tool der Saugroboter Finder weiter!
Hinterlasse uns einen Kommentar