Scheinbar hat Roborock ein neues Patent eingereicht, das einen Roboterarm auf einem Saugroboter der Marke zeigt!
Roborock – Patent für Roboterarm auf Saugroboter entdeckt!
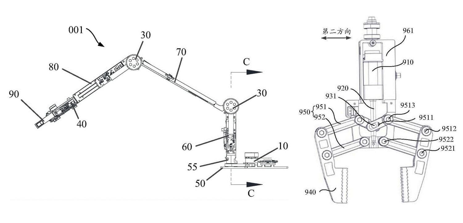
Können die Saugroboter in naher Zukunft Staubwischen oder dir dein Getränk reichen? So etwas könnte man annehmen, wenn man sich das neue Patent von Roborock mal genauer anschaut. Ich wollte euch nur mal kurz informieren, dass Bilder eines neuen Roborock-Patents aufgetaucht sind, die ziemlich merkwürdig erscheinen. Auf den Bildern ist klar zu erkennen, dass Roborock einen Roboterarm auf einem Saugroboter verbaut hat. Doch wofür ist dieser gut?

Bild: patents.google.com
Was führt Roborock da im Schilde? Der Roboterarm, den das Patent zeigt, ist voll beweglich und hat eine Art Auge in Form eines kleinen Moduls an der Front. Zudem kann er mit einer Greifvorrichtung Dinge anheben. Damit scheint es wohl so, als wenn der Arm selbst sehen könnte, was er da macht. Mitten im Roboter ist der Arm platziert und kann vollständig eingefahren werden.

Bild: patents.google.com
Ob Roborock das Patent umsetzt, ist jedoch fraglich. Man kennt es von vielen anderen großen Herstellern: Patente werden angemeldet und nie umgesetzt. Somit bleibt uns nichts Weiteres übrig, als auf mehr Informationen abzuwarten.
Du willst mehr über Saug- & Wischroboter wissen? Dann tritt doch unserer „Saug- & Wischroboter-Gruppe“ auf Facebook bei. Dort findest du eine riesige Community, mit der du dich zum Thema austauschen kannst! Falls du auf der Suche nach einem neuen Saugroboter bist, hilft dir unser Tool der Saugroboter Finder weiter!
Hinterlasse uns einen Kommentar
Mit der Nutzung dieses Formulars, erklärst du dich mit der Speicherung und Verarbeitung deiner Daten durch diese Website einverstanden. Weitere Informationen kannst du der Datenschutzerklärung entnehmen.